芯片式電源模塊與光通信
非隔離型集成
芯片式電源模塊
DC-DC
 
                                    深圳市立維創展科技有限公司,是美國THUNDERLINE-Z & Fusite品牌在中國的授權渠道商,其金屬玻璃密封端子,已廣泛應用于航天、軍事、通信等高可靠性領域。
 
                                    AIP0030-67-4006是WENTEQ推出的高性能輸入保護型低噪聲放大器,專為VHF/UHF頻段無線通訊、雷達探測等高頻應用設計,具備低噪聲(NF 0.6dB)、高增益(40dB)及輸入保護功能。
 
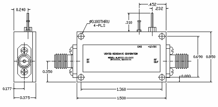
                                    SDRO1130-7是Synergy微波推出的表面貼裝型介質諧振振蕩器,具有低相位噪聲、高穩定性及緊湊設計等優勢,核心參數包括特定頻率、調諧范圍等,工作溫度范圍廣且封裝尺寸小。
 
                                    HTEH20120H-1R0MSR是Cyntec(乾坤)推出的屏蔽型、金屬磁芯、表面貼裝功率電感器,專為高電流應用設計,適用于筆記本CPU供電等薄型DC-DC轉換場合。
 
                                    在全球芯片供應鏈波動背景下,國產電源模塊MUN3C1HR6-SB成為TI、ADI等大廠產品的理想替代選擇。它能替代TPS82671等多款型號,在輸入電壓、輸出電壓、封裝尺寸等關鍵參數上精準匹配,具有供應鏈穩定、成本低廉及本土化支持等優勢。
 
                                    MGDM-155S是GAIA公司專為軍工、航空航天等極端環境設計的高可靠性DC-DC電源模塊,具備155-480VDC超寬輸入、-55℃至+105℃寬溫工作能力
 
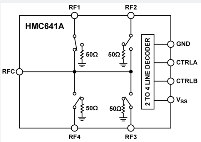
                                    HMC641A-Die是ADI基于GaAs MMIC工藝打造的高性能單刀四擲非反射式射頻開關,覆蓋0.1至18/20GHz寬頻段,具有低插入損耗、高隔離度及50Ω匹配特性
 
                                    若需替代EUVIS的MD663B高速12位DAC,TI的DAC8881雖未明確達到10GSPS采樣率,但其高速、高分辨率特性可能適配部分場景;ADI的AD5791雖為20位高精度DAC,但建立時間短、頻譜密度低,適合對分辨率要求不苛刻的高速應用;
 
                                    AT84AS001是E2V品牌推出的高性能12位模數轉換器,有500 MSPS采樣率、低功耗及1.5 GHz全功率輸入帶寬等特性。
 
                                    342A024-12-0是TE Connectivity(Raychem 瑞侃)推出的高溫熱縮型電纜分支模制件,采用耐高溫改性彈性體材料,45°側分線點設計,具備耐腐蝕、抗振動特性,工作溫度范圍廣
 
                                    646482-2是TE Connectivity推出的硬公制背板連接器護罩,采用B22型結構與154個2.00mm間距公制針腳(5+2排布局),支持通孔式安裝,具備高密度信號傳輸能力。
 
                                    1658682 - 1是TE Connectivity(Raychem瑞侃)生產的AMPLIMITE HDP - 22系列D - Sub高密度連接器外殼,有26個觸點位置,采用鋼制鍍錫外殼、2號尺寸,支持面板或電纜安裝、壓接端接,為3排黑色信號觸點,絕緣體是聚乙烯,工作溫度-55°C至105°C,額定電壓250VAC,阻燃等級UL 94V - 0且符合RoHS標準。
 
                                    北京中科昊芯推出的 HXS320F28035 是 HX2000 系列 32 位浮點 RISC-V 架構數字信號控制器,基于自研 H28x 內核,專為工業控制等高實時性場景設計,可替代傳統 DSP 方案。
 
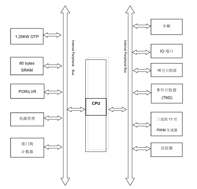
                                    PMS152G 是應廣科技推出的 8 位 OTP I/O 型“SuLED”系列單片機,以“多路 11 位 PWM+高灌電流 I/O”為核心,具備 1.25KW OTP 程序空間、80Byte SRAM 等硬件資源
 
                                    PT32L076 是澎湃微電子推出的 32 位超低功耗高性能基于 ARM Cortex-M0 內核的 MCU,適用于電池供電設備。它主頻最高 64MHz,Flash 存儲和 RAM 有多種容量可選,工作電壓范圍廣、溫度適應性強,外設資源豐富
 
                                    Leadway電源模塊兼容性極強,關鍵參數與封裝高度兼容國際品牌,如輸入輸出等核心指標一致,采用相同封裝形式,實例中可原位替代Murata村田、TI等產品且無需調整電氣參數、物理尺寸和引腳定義;
 
                                    Leadway電源模塊由深圳立維創展科技推出,性能上與國際品牌核心參數一致,部分更優,效率高、MTBF長且支持寬壓輸入;性價比突出,價格低40%,交貨快、供應穩;安全保護完備,有多重保護與多項認證;兼容性強,可原位替代國際品牌并支持使能信號控制;
 
                                    Leadway電源模塊由深圳市立維創展科技有限公司推出,性價比極高。它性能對標Murata村田等國際品牌,在關鍵指標上保持一致水準且全面優化;價格優勢顯著,批量采購價僅為國際品牌同款的60%左右;兼容性強,可原位替代知名品牌產品
 
                                    Leadway GaN系列模塊以120W/in3功率密度為核心,借助GaN材料特性突破實現高頻低損耗,通過磁集成與拓撲優化壓縮體積,采用封裝與散熱創新確保穩定性,體積縮減40%、效率達92%+。
 
                                    Leadway 電機方案核心技術以“全國產器件 + 高功率密度電源模塊”為基礎,結合電路優化、散熱及信號處理技術,形成高穩定性、高性價比、小型化電機驅動與控制系統方案。
 
                                    GaN(氮化鎵)技術基于寬禁帶半導體材料,在高頻、高效、大功率及高溫環境下表現卓越,相比傳統方案優勢顯著:電子遷移率高、帶隙寬,可提升功率密度,實現設備小型化;開關頻率高、損耗低,能效提升;